气动工具的低压关闭阀是什么安全装置?
2025/9/4 16:11:15114次浏览
气动工具的低压关闭阀是一种在进气压力低于预设水平时自动切断气源的安全装置,确保工具在气压不足时停止运行。其核心结构和工作原理如下:
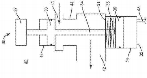
一、核心结构
气道系统
主要进气口:连接压缩空气源(如空压机)。
排气口:输出空气至气动工具的动力系统。
次要进气口:接收控制信号(如空气逻辑系统的脉冲气流),用于触发阀门开启。
颈部:位于主进/排气口间的狭窄通道,起密封作用。
可移动轴与活塞组件
轴向分离设计:两活塞固定于同一轴但位置错开,实现功能解耦(权利要求1)。


弹性垫圈:安装在活塞外围,增强密封性(见权利要求3)。
轴:横穿气道,可在两个位置间滑动。
第一活塞:位于颈部区域,径向尺寸与颈部匹配,用于堵塞/开放气道。
第二活塞:远离主气道设置,受次要进气口气流驱动,用于启动阀门。
辅助机构
第一孔容纳开启状态的第一活塞,防止背压干扰(权利要求6);
第二孔容纳关闭状态的第二活塞,形成密闭驱动腔(权利要求4)。
偏置元件(如弹簧):将轴恒定向关闭位置推压(权利要求1)。
手动关闭按钮:位于轴端部,按压可强制关闭阀门(权利要求8)。
密封孔:
二、工作流程
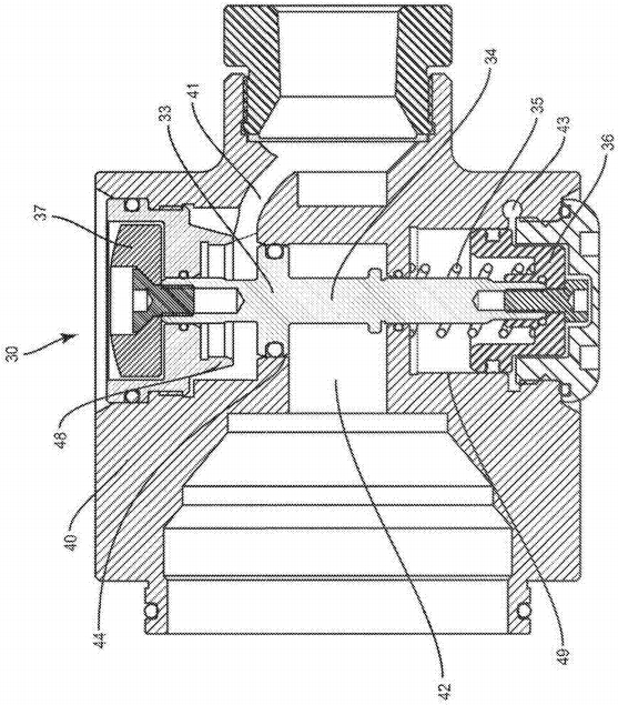
1. 关闭状态(低压/未启动)
偏置元件将轴推至第一位置,第一活塞堵塞颈部(图3A)。
第二活塞位于第二孔内,与孔壁紧密贴合。
结果:主气道切断,工具无法运行。
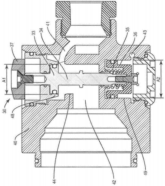
2. 开启过程(启动信号触发)
次要进气口通入气流(如操作者按下开关),作用于第二活塞底部(面积A₂)。
气流推力克服偏置力,推动轴移至第二位置(图3B):
第一活塞移出颈部,进入第一孔密封;
主气道开放,空气流向工具动力系统。
关键设计:仅需短暂气流脉冲即可完成切换(见具体实施方式)。
3. 自保持状态(正常运行)
主气道气流作用于第一活塞底部(面积A₁),产生持续推力(图4B)。
该推力 > 偏置力,使阀门稳定在开启位(即使次要进气口气流已停止)。
低压保护:若气压降至预设值以下,偏置力 > 气流推力,阀门自动复位关闭(图4A)。


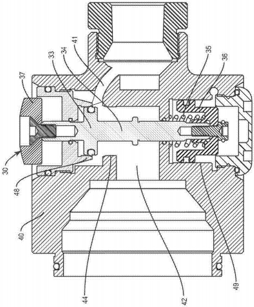
4. 紧急关闭
按压手动按钮(图5),轻微位移破坏第一活塞与孔的密封。
偏置力瞬间推动轴返回关闭位。

三、创新优势(对比传统设计)
大流量通道
传统倾斜阀因结构限制流量低;本设计采用直通式颈部,活塞移出后气道全开(背景技术提及)。
双活塞解耦控制
第二活塞独立受控,避免主气流干扰启闭信号(权利要求1)。
低压精准响应
通过调整面积A₁与偏置力比值,预设压力阈值(如0.4MPa)。
失效保护
弹簧恒定为关闭状态提供冗余保障。
四、应用实例
专利以推进式气动钻为例(图1/图2):
场景:在飞机复合材料蒙皮钻孔时,若气压不足(如供气管破裂),钻头易卡死损坏工件。
阀安装位:集成于工具连接器(背景技术)。
工作流程:
操作者按启动钮 → 次要进气口通入脉冲气流 → 阀门开启;
正常钻孔中,主气流维持阀门开启;
若气压骤降(如空压机故障),阀门0.5秒内自动切断气源,钻头停转;
突发状况时,操作者拍击手动按钮紧急停机。


五、总结
该低压关闭阀通过双活塞+气道颈部的机械设计,实现了:
① 低压自动保护;② 大流量供气;③ 一键急停;④ 启闭状态自保持。其核心价值在于解决了传统阀门在流量与可靠性间的矛盾(背景技术强调),特别适用于航空制造、汽车装配等对气动工具安全性要求极高的领域。
+More相关推荐
为什么选择气动工具厂家直接购买气动工具
选择气动工具厂家直接购买气动工具,主要有以下原因:严格的质量控制体系:正规厂家通常拥有完善的质量管理体...
气动工具各有哪些优缺点?
气动工具的优缺点如下:优点:• 小型轻量:气动工具在同样输出功率的情况下,与电动工具相比更小型轻量。•...
威莱仕:低成本高效率气动工具应用解决方案
在工业生产与日常生活中,效率与成本一直是人们关注的焦点。如何在保证工作效率的同时,又能降低成本呢?威莱...
气动工具(气动剪刀)安全使用标准
1.使用气动工具(气动剪刀)前应该先注意气动工具的压力要求,不要过大,不要过小;确认进气接头,气管锁紧才开...
气动工具是一种怎样的对外输出动能工作的工具?
从广义上讲,气动工具主要是利用压缩空气带动气动马达而对外输出动能工作的一种工具,根据其基本工作方式可分...
联系我们
24小时服务电话( 刘‘S )18025163567
—— 加微信直接沟通




0769-82068196